Day02_苍穹外卖——新增员工&员工分页查询&编辑员工&分类模块功能代码
苍穹外卖——新增员工&员工分页查询&编辑员工&导入分类模块功能代码
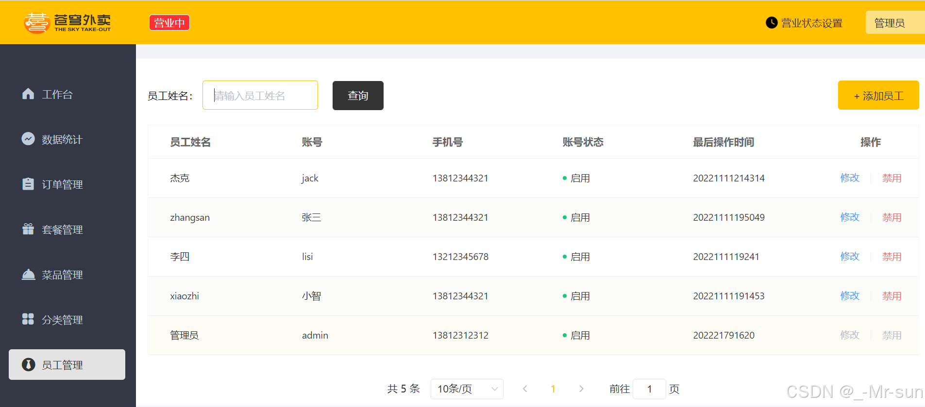
员工管理效果:

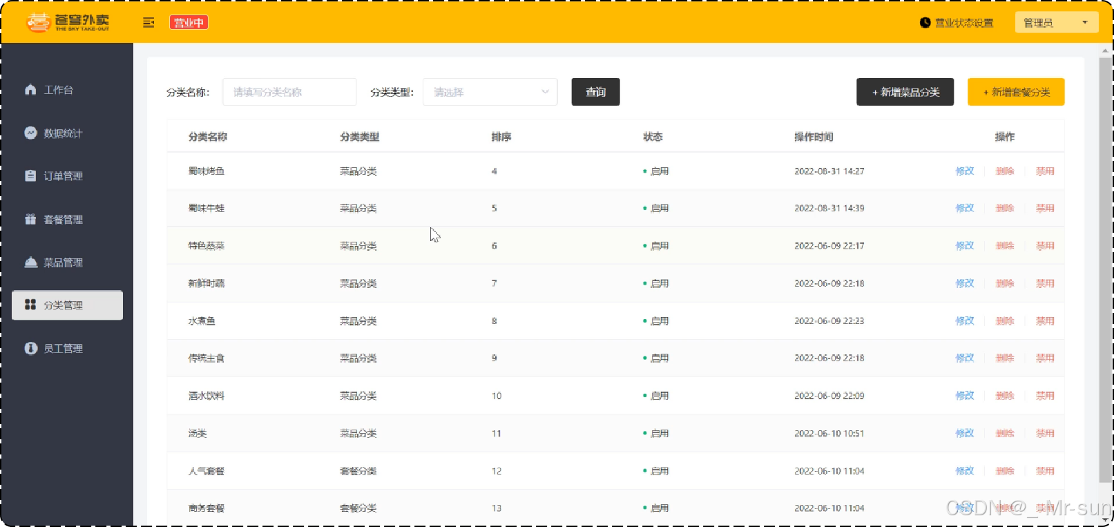
菜品分类管理效果:

1. 新增员工
1.1 需求分析和设计
1.1.1 产品原型
一般在做需求分析时,往往都是对照着产品原型进行分析,因为产品原型比较直观,便于我们理解业务。
后台系统中可以管理员工信息,通过新增员工来添加后台系统用户。
新增员工原型:

当填写完表单信息, 点击"保存"按钮后, 会提交该表单的数据到服务端, 在服务端中需要接受数据, 然后将数据保存至数据库中。
注意事项:
- 账号必须是唯一的
- 手机号为合法的11位手机号码
- 身份证号为合法的18位身份证号码
- 密码默认为123456
1.1.2 接口设计
找到之前的资料–>接口文档–>苍穹外卖-管理端接口.html


明确新增员工接口的请求路径、请求方式、请求参数、返回数据。
本项目约定:
- 管理端发出的请求,统一使用 /admin作为前缀。
- 用户端发出的请求,统一使用 /user作为前缀。
1.1.3 表设计
新增员工,其实就是将我们新增页面录入的员工数据插入到employee表。
employee表结构:
| 字段名 | 数据类型 | 说明 | 备注 |
|---|---|---|---|
| id | bigint | 主键 | 自增 |
| name | varchar(32) | 姓名 | |
| username | varchar(32) | 用户名 | 唯一 |
| password | varchar(64) | 密码 | |
| phone | varchar(11) | 手机号 | |
| sex | varchar(2) | 性别 | |
| id_number | varchar(18) | 身份证号 | |
| status | Int | 账号状态 | 1正常 0锁定 |
| create_time | Datetime | 创建时间 | |
| update_time | datetime | 最后修改时间 | |
| create_user | bigint | 创建人id | |
| update_user | bigint | 最后修改人id |
其中,employee表中的status字段已经设置了默认值1,表示状态正常。
1.2 代码开发
1.2.1 设计DTO类
根据新增员工接口设计对应的DTO
前端传递参数列表:

思考: 是否可以使用对应的实体类来接收呢?

注意: 当前端提交的数据和实体类中对应的属性差别比较大时,建议使用DTO来封装数据
由于上述传入参数和实体类有较大差别,所以自定义DTO类。
进入sky-pojo模块,在com.sky.dto包下,已定义EmployeeDTO
package com.sky.dto;
import lombok.Data;
import java.io.Serializable;
@Data
public class EmployeeDTO implements Serializable {
private Long id;
private String username;
private String name;
private String phone;
private String sex;
private String idNumber;
}
1.2.2 Controller层
EmployeeController中创建新增员工方法
进入到sky-server模块中,在com.sky.controller.admin包下,在EmployeeController中创建新增员工方法,接收前端提交的参数。
/**
* 新增员工
* @param employeeDTO
* @return
*/
@PostMapping
@ApiOperation("新增员工")
public Result save(@RequestBody EmployeeDTO employeeDTO){
log.info("新增员工:{}",employeeDTO);
employeeService.save(employeeDTO);//该方法后续步骤会定义
return Result.success();
}
注: Result类定义了后端统一返回结果格式。
进入sky-common模块,在com.sky.result包下定义了Result.java
package com.sky.result;
import lombok.Data;
import java.io.Serializable;
/**
* 后端统一返回结果
* @param <T>
*/
@Data
public class Result<T> implements Serializable {
private Integer code; //编码:1成功,0和其它数字为失败
private String msg; //错误信息
private T data; //数据
public static <T> Result<T> success() {
Result<T> result = new Result<T>();
result.code = 1;
return result;
}
public static <T> Result<T> success(T object) {
Result<T> result = new Result<T>();
result.data = object;
result.code = 1;
return result;
}
public static <T> Result<T> error(String msg) {
Result result = new Result();
result.msg = msg;
result.code = 0;
return result;
}
}
1.2.3 Service层接口
在EmployeeService接口中声明新增员工方法
进入到sky-server模块中,com.sky.server.EmployeeService
/**
* 新增员工
* @param employeeDTO
*/
void save(EmployeeDTO employeeDTO);
1.2.4 Service层实现类
在EmployeeServiceImpl中实现新增员工方法
com.sky.server.impl.EmployeeServiceImpl中创建方法
/**
* 新增员工
*
* @param employeeDTO
*/
public void save(EmployeeDTO employeeDTO) {
Employee employee = new Employee();
//对象属性拷贝
BeanUtils.copyProperties(employeeDTO, employee);
//设置账号的状态,默认正常状态 1表示正常 0表示锁定
employee.setStatus(StatusConstant.ENABLE);
//设置密码,默认密码123456
employee.setPassword(DigestUtils.md5DigestAsHex(PasswordConstant.DEFAULT_PASSWORD.getBytes()));
//设置当前记录的创建时间和修改时间
employee.setCreateTime(LocalDateTime.now());
employee.setUpdateTime(LocalDateTime.now());
//设置当前记录创建人id和修改人id
employee.setCreateUser(10L);//目前写个假数据,后期修改
employee.setUpdateUser(10L);
employeeMapper.insert(employee);//后续步骤定义
}
在sky-common模块com.sky.constants包下已定义StatusConstant.java
package com.sky.constant;
/**
* 状态常量,启用或者禁用
*/
public class StatusConstant {
//启用
public static final Integer ENABLE = 1;
//禁用
public static final Integer DISABLE = 0;
}
1.2.5 Mapper层
在EmployeeMapper中声明insert方法
com.sky.EmployeeMapper中添加方法
/**
* 插入员工数据
* @param employee
*/
@Insert("insert into employee (name, username, password, phone, sex, id_number, create_time, update_time, create_user, update_user,status) " +
"values " +
"(#{name},#{username},#{password},#{phone},#{sex},#{idNumber},#{createTime},#{updateTime},#{createUser},#{updateUser},#{status})")
void insert(Employee employee);
在application.yml中已开启驼峰命名,故id_number和idNumber可对应。
mybatis:
configuration:
#开启驼峰命名
map-underscore-to-camel-case: true
1.3 功能测试
代码已经发开发完毕,对新增员工功能进行测试。
功能测试实现方式:
- 通过接口文档测试
- 通前后端联调测试
接下来我们使用上述两种方式分别测试。
1.3.1 接口文档测试
启动服务: 访问http://localhost:8080/doc.html,进入新增员工接口

json数据:
{
"id": 0,
"idNumber": "111222333444555666",
"name": "xiaozhi",
"phone": "13812344321",
"sex": "1",
"username": "小智"
}
响应码:401 报错
通过断点调试: 进入到JwtTokenAdminInterceptor拦截器
/**
* 校验jwt
*
* @param request
* @param response
* @param handler
* @return
* @throws Exception
*/
public boolean preHandle(HttpServletRequest request, HttpServletResponse response, Object handler) throws Exception {
//判断当前拦截到的是Controller的方法还是其他资源
if (!(handler instanceof HandlerMethod)) {
//当前拦截到的不是动态方法,直接放行
return true;
}
//1、从请求头中获取令牌 jwtProperties.getAdminTokenName()获取为token
String token = request.getHeader(jwtProperties.getAdminTokenName());
//2、校验令牌
try {
log.info("jwt校验:{}", token);
Claims claims = JwtUtil.parseJWT(jwtProperties.getAdminSecretKey(), token);
Long empId = Long.valueOf(claims.get(JwtClaimsConstant.EMP_ID).toString());
log.info("当前员工id:", empId);
//3、通过,放行
return true;
} catch (Exception ex) {
//4、不通过,响应401状态码
response.setStatus(401);
return false;
}
}
报错原因: 由于JWT令牌校验失败,导致EmployeeController的save方法没有被调用
解决方法: 调用员工登录接口获得一个合法的JWT令牌
使用admin用户登录获取令牌

添加令牌:
将合法的JWT令牌添加到全局参数中
文档管理–>全局参数设置–>添加参数

接口测试:
其中,请求头部含有JWT令牌

查看employee表:

测试成功。
1.3.2 前后端联调测试
启动nginx,访问 http://localhost
登录–>员工管理–>添加员工

保存后,查看employee表
测试成功。
注意: 由于开发阶段前端和后端是并行开发的,后端完成某个功能后,此时前端对应的功能可能还没有开发完成,
导致无法进行前后端联调测试。所以在开发阶段,后端测试主要以接口文档测试为主。
1.4 代码完善
目前,程序存在的问题主要有两个:
- 录入的用户名已存,抛出的异常后没有处理
- 新增员工时,创建人id和修改人id设置为固定值
接下来,我们对上述两个问题依次进行分析和解决。
1.4.1 问题一
描述: 录入的用户名已存,抛出的异常后没有处理
分析:
新增username=zhangsan的用户,若employee表中之前已存在。

后台报错信息:

查看employee表结构:

发现,username已经添加了唯一约束,不能重复。
解决:
通过全局异常处理器来处理。
进入到sky-server模块,com.sky.hander包下,GlobalExceptionHandler.java添加方法
/**
* 处理SQL异常
* @param ex
* @return
*/
@ExceptionHandler
public Result exceptionHandler(SQLIntegrityConstraintViolationException ex){
//Duplicate entry 'zhangsan' for key 'employee.idx_username'
String message = ex.getMessage();
if(message.contains("Duplicate entry")){
String[] split = message.split(" ");
String username = split[2];
String msg = username + MessageConstant.ALREADY_EXISTS;
return Result.error(msg);
}else{
return Result.error(MessageConstant.UNKNOWN_ERROR);
}
}
进入到sky-common模块,在MessageConstant.java添加
public static final String ALREADY_EXISTS = "已存在";
再次,接口测试:

1.4.2 问题二
描述:新增员工时,创建人id和修改人id设置为固定值
分析:
/**
* 新增员工
*
* @param employeeDTO
*/
public void save(EmployeeDTO employeeDTO) {
Employee employee = new Employee();
//................
//////////当前设置的id为固定值10//////////
employee.setCreateUser(10L);
employee.setUpdateUser(10L);
//////////////////////////////////////
//.................................
employeeMapper.insert(employee);//后续步骤定义
}
解决:
通过某种方式动态获取当前登录员工的id。

员工登录成功后会生成JWT令牌并响应给前端:
在sky-server模块
package com.sky.controller.admin;
/**
* 员工管理
*/
@RestController
@RequestMapping("/admin/employee")
@Slf4j
@Api(tags = "员工相关接口")
public class EmployeeController {
@Autowired
private EmployeeService employeeService;
@Autowired
private JwtProperties jwtProperties;
/**
* 登录
*
* @param employeeLoginDTO
* @return
*/
@PostMapping("/login")
@ApiOperation(value = "员工登录")
public Result<EmployeeLoginVO> login(@RequestBody EmployeeLoginDTO employeeLoginDTO) {
//.........
//登录成功后,生成jwt令牌
Map<String, Object> claims = new HashMap<>();
claims.put(JwtClaimsConstant.EMP_ID, employee.getId());
String token = JwtUtil.createJWT(
jwtProperties.getAdminSecretKey(),
jwtProperties.getAdminTtl(),
claims);
//............
return Result.success(employeeLoginVO);
}
}
后续请求中,前端会携带JWT令牌,通过JWT令牌可以解析出当前登录员工id:
JwtTokenAdminInterceptor.java
package com.sky.interceptor;
/**
* jwt令牌校验的拦截器
*/
@Component
@Slf4j
public class JwtTokenAdminInterceptor implements HandlerInterceptor {
@Autowired
private JwtProperties jwtProperties;
/**
* 校验jwt
*
* @param request
* @param response
* @param handler
* @return
* @throws Exception
*/
public boolean preHandle(HttpServletRequest request, HttpServletResponse response, Object handler) throws Exception {
//..............
//1、从请求头中获取令牌
String token = request.getHeader(jwtProperties.getAdminTokenName());
//2、校验令牌
try {
log.info("jwt校验:{}", token);
Claims claims = JwtUtil.parseJWT(jwtProperties.getAdminSecretKey(), token);
Long empId = Long.valueOf(claims.get(JwtClaimsConstant.EMP_ID).toString());
log.info("当前员工id:", empId);
//3、通过,放行
return true;
} catch (Exception ex) {
//4、不通过,响应401状态码
response.setStatus(401);
return false;
}
}
}
思考: 解析出登录员工id后,如何传递给Service的save方法?
通过ThreadLocal进行传递。
1.4.3 ThreadLocal
介绍:
ThreadLocal 并不是一个Thread,而是Thread的局部变量。
ThreadLocal为每个线程提供单独一份存储空间,具有线程隔离的效果,只有在线程内才能获取到对应的值,线程外则不能访问。
常用方法:
- public void set(T value) 设置当前线程的线程局部变量的值
- public T get() 返回当前线程所对应的线程局部变量的值
- public void remove() 移除当前线程的线程局部变量
对ThreadLocal有了一定认识后,接下来继续解决问题二

初始工程中已经封装了 ThreadLocal 操作的工具类:
在sky-common模块
package com.sky.context;
public class BaseContext {
public static ThreadLocal<Long> threadLocal = new ThreadLocal<>();
public static void setCurrentId(Long id) {
threadLocal.set(id);
}
public static Long getCurrentId() {
return threadLocal.get();
}
public static void removeCurrentId() {
threadLocal.remove();
}
}
在拦截器中解析出当前登录员工id,并放入线程局部变量中:
在sky-server模块中,拦截器:
package com.sky.interceptor;
/**
* jwt令牌校验的拦截器
*/
@Component
@Slf4j
public class JwtTokenAdminInterceptor implements HandlerInterceptor {
@Autowired
private JwtProperties jwtProperties;
/**
* 校验jwt
*
* @param request
* @param response
* @param handler
* @return
* @throws Exception
*/
public boolean preHandle(HttpServletRequest request, HttpServletResponse response, Object handler) throws Exception {
//.............................
//2、校验令牌
try {
//.................
Claims claims = JwtUtil.parseJWT(jwtProperties.getAdminSecretKey(), token);
Long empId = Long.valueOf(claims.get(JwtClaimsConstant.EMP_ID).toString());
log.info("当前员工id:", empId);
/////将用户id存储到ThreadLocal////////
BaseContext.setCurrentId(empId);
////////////////////////////////////
//3、通过,放行
return true;
} catch (Exception ex) {
//......................
}
}
}
在Service中获取线程局部变量中的值:
/**
* 新增员工
*
* @param employeeDTO
*/
public void save(EmployeeDTO employeeDTO) {
//.............................
//设置当前记录创建人id和修改人id
employee.setCreateUser(BaseContext.getCurrentId());//目前写个假数据,后期修改
employee.setUpdateUser(BaseContext.getCurrentId());
employeeMapper.insert(employee);
}
测试:使用admin(id=1)用户登录后添加一条记录

查看employee表记录

1.5 代码提交
点击提交:

提交过程中,出现提示:

继续push:
推送成功:

2. 员工分页查询
2.1 需求分析和设计
2.1.1 产品原型
系统中的员工很多的时候,如果在一个页面中全部展示出来会显得比较乱,不便于查看,所以一般的系统中都会以分页的方式来展示列表数据。而在我们的分页查询页面中, 除了分页条件以外,还有一个查询条件 “员工姓名”。
查询员工原型:

业务规则:
- 根据页码展示员工信息
- 每页展示10条数据
- 分页查询时可以根据需要,输入员工姓名进行查询
2.1.2 接口设计


注意事项:
- 请求参数类型为Query,不是json格式提交,在路径后直接拼接。/admin/employee/page?name=zhangsan
- 返回数据中records数组中使用Employee实体类对属性进行封装。
2.2 代码开发
2.2.1 设计DTO类
根据请求参数进行封装,在sky-pojo模块中
package com.sky.dto;
import lombok.Data;
import java.io.Serializable;
@Data
public class EmployeePageQueryDTO implements Serializable {
//员工姓名
private String name;
//页码
private int page;
//每页显示记录数
private int pageSize;
}
2.2.2 封装PageResult
后面所有的分页查询,统一都封装为PageResult对象。
在sky-common模块
package com.sky.result;
import lombok.AllArgsConstructor;
import lombok.Data;
import lombok.NoArgsConstructor;
import java.io.Serializable;
import java.util.List;
/**
* 封装分页查询结果
*/
@Data
@AllArgsConstructor
@NoArgsConstructor
public class PageResult implements Serializable {
private long total; //总记录数
private List records; //当前页数据集合
}
员工信息分页查询后端返回的对象类型为: Result
package com.sky.result;
import lombok.Data;
import java.io.Serializable;
/**
* 后端统一返回结果
* @param <T>
*/
@Data
public class Result<T> implements Serializable {
private Integer code; //编码:1成功,0和其它数字为失败
private String msg; //错误信息
private T data; //数据
public static <T> Result<T> success() {
Result<T> result = new Result<T>();
result.code = 1;
return result;
}
public static <T> Result<T> success(T object) {
Result<T> result = new Result<T>();
result.data = object;
result.code = 1;
return result;
}
public static <T> Result<T> error(String msg) {
Result result = new Result();
result.msg = msg;
result.code = 0;
return result;
}
}
2.2.3 Controller层
在sky-server模块中,com.sky.controller.admin.EmployeeController中添加分页查询方法。
/**
* 员工分页查询
* @param employeePageQueryDTO
* @return
*/
@GetMapping("/page")
@ApiOperation("员工分页查询")
public Result<PageResult> page(EmployeePageQueryDTO employeePageQueryDTO){
log.info("员工分页查询,参数为:{}", employeePageQueryDTO);
PageResult pageResult = employeeService.pageQuery(employeePageQueryDTO);//后续定义
return Result.success(pageResult);
}
2.2.4 Service层接口
在EmployeeService接口中声明pageQuery方法:
/**
* 分页查询
* @param employeePageQueryDTO
* @return
*/
PageResult pageQuery(EmployeePageQueryDTO employeePageQueryDTO);
2.2.5 Service层实现类
在EmployeeServiceImpl中实现pageQuery方法:
/**
* 分页查询
*
* @param employeePageQueryDTO
* @return
*/
public PageResult pageQuery(EmployeePageQueryDTO employeePageQueryDTO) {
// select * from employee limit 0,10
//开始分页查询
PageHelper.startPage(employeePageQueryDTO.getPage(), employeePageQueryDTO.getPageSize());
Page<Employee> page = employeeMapper.pageQuery(employeePageQueryDTO);//后续定义
long total = page.getTotal();
List<Employee> records = page.getResult();
return new PageResult(total, records);
}
注意: 此处使用 mybatis 的分页插件 PageHelper 来简化分页代码的开发。底层基于 mybatis 的拦截器实现。
故在pom.xml文中添加依赖(初始工程已添加)
<dependency>
<groupId>com.github.pagehelper</groupId>
<artifactId>pagehelper-spring-boot-starter</artifactId>
<version>${pagehelper}</version>
</dependency>
2.2.6 Mapper层
在 EmployeeMapper 中声明 pageQuery 方法:
/**
* 分页查询
* @param employeePageQueryDTO
* @return
*/
Page<Employee> pageQuery(EmployeePageQueryDTO employeePageQueryDTO);
在 src/main/resources/mapper/EmployeeMapper.xml 中编写SQL:
<select id="pageQuery" resultType="com.sky.entity.Employee">
select * from employee
<where>
<if test="name != null and name != ''">
and name like concat('%',#{name},'%')
</if>
</where>
order by create_time desc
</select>
2.3 功能测试
可以通过接口文档进行测试,也可以进行前后端联调测试。
接下来使用两种方式分别测试:
2.3.1 接口文档测试
重启服务: 访问http://localhost:8080/doc.html,进入员工分页查询

响应结果:
2.3.2 前后端联调测试
点击员工管理

输入员工姓名为zhangsan

不难发现,最后操作时间格式不清晰,在代码完善中解决。

2.4 代码完善
问题描述: 操作时间字段显示有问题。

解决方式:
1). 方式一
在属性上加上注解,对日期进行格式化

但这种方式,需要在每个时间属性上都要加上该注解,使用较麻烦,不能全局处理。
2). 方式二(推荐 )
在WebMvcConfiguration中扩展SpringMVC的消息转换器,统一对日期类型进行格式处理
/**
* 扩展Spring MVC框架的消息转化器
* @param converters
*/
protected void extendMessageConverters(List<HttpMessageConverter<?>> converters) {
log.info("扩展消息转换器...");
//创建一个消息转换器对象
MappingJackson2HttpMessageConverter converter = new MappingJackson2HttpMessageConverter();
//需要为消息转换器设置一个对象转换器,对象转换器可以将Java对象序列化为json数据
converter.setObjectMapper(new JacksonObjectMapper());
//将自己的消息转化器加入容器中
converters.add(0,converter);
}
添加后,再次测试

时间格式定义,sky-common模块中
package com.sky.json;
public class JacksonObjectMapper extends ObjectMapper {
//.......
public static final String DEFAULT_DATE_TIME_FORMAT = "yyyy-MM-dd HH:mm";
//.......
}
}
2.5 代码提交

后续步骤和新增员工代码提交一致,不再赘述。
3. 启用禁用员工账号
3.1 需求分析与设计
3.1.1 产品原型
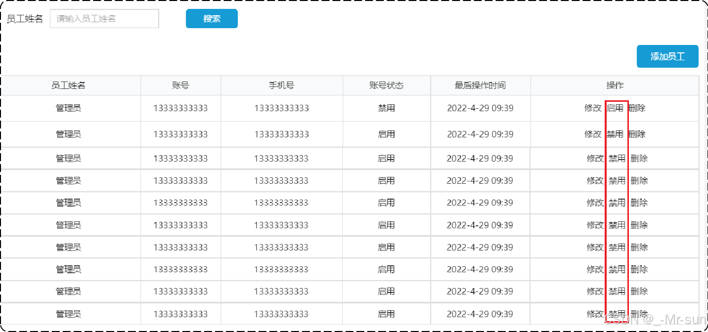
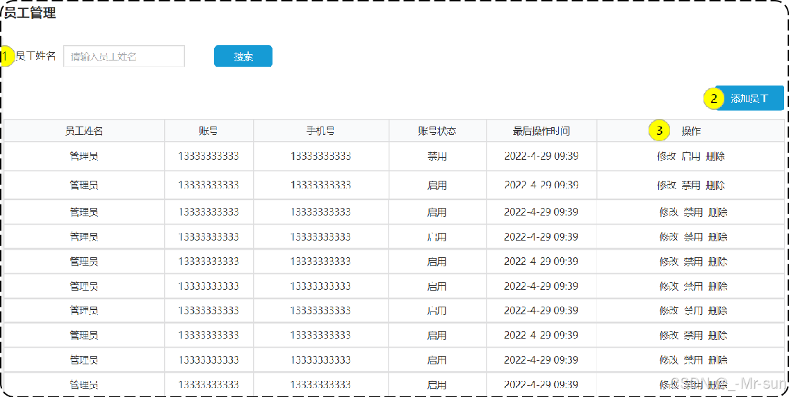
在员工管理列表页面,可以对某个员工账号进行启用或者禁用操作。账号禁用的员工不能登录系统,启用后的员工可以正常登录。如果某个员工账号状态为正常,则按钮显示为 “禁用”,如果员工账号状态为已禁用,则按钮显示为"启用"。
启禁用员工原型:

业务规则:
- 可以对状态为“启用” 的员工账号进行“禁用”操作
- 可以对状态为“禁用”的员工账号进行“启用”操作
- 状态为“禁用”的员工账号不能登录系统
3.1.2 接口设计


1). 路径参数携带状态值。
2). 同时,把id传递过去,明确对哪个用户进行操作。
3). 返回数据code状态是必须,其它是非必须。
3.2 代码开发
3.2.1 Controller层
在sky-server模块中,根据接口设计中的请求参数形式对应的在 EmployeeController 中创建启用禁用员工账号的方法:
/**
* 启用禁用员工账号
* @param status
* @param id
* @return
*/
@PostMapping("/status/{status}")
@ApiOperation("启用禁用员工账号")
public Result startOrStop(@PathVariable Integer status,Long id){
log.info("启用禁用员工账号:{},{}",status,id);
employeeService.startOrStop(status,id);//后绪步骤定义
return Result.success();
}
3.2.2 Service层接口
在 EmployeeService 接口中声明启用禁用员工账号的业务方法:
/**
* 启用禁用员工账号
* @param status
* @param id
*/
void startOrStop(Integer status, Long id);
3.2.3 Service层实现类
在 EmployeeServiceImpl 中实现启用禁用员工账号的业务方法:
/**
* 启用禁用员工账号
*
* @param status
* @param id
*/
public void startOrStop(Integer status, Long id) {
Employee employee = Employee.builder()
.status(status)
.id(id)
.build();
employeeMapper.update(employee);
}
3.2.4 Mapper层
在 EmployeeMapper 接口中声明 update 方法:
/**
* 根据主键动态修改属性
* @param employee
*/
void update(Employee employee);
在 EmployeeMapper.xml 中编写SQL:
<update id="update" parameterType="Employee">
update employee
<set>
<if test="name != null">name = #{name},</if>
<if test="username != null">username = #{username},</if>
<if test="password != null">password = #{password},</if>
<if test="phone != null">phone = #{phone},</if>
<if test="sex != null">sex = #{sex},</if>
<if test="idNumber != null">id_number = #{idNumber},</if>
<if test="updateTime != null">update_time = #{updateTime},</if>
<if test="updateUser != null">update_user = #{updateUser},</if>
<if test="status != null">status = #{status},</if>
</set>
where id = #{id}
</update>
3.3 功能测试
3.3.1 接口文档测试
测试前, 查询employee表中员工账号状态

开始测试

测试完毕后,再次查询员工账号状态

3.3.2 前后端联调测试
测试前:

点击启用:

3.4 代码提交

后续步骤和上述功能代码提交一致,不再赘述。
4. 编辑员工
4.1 需求分析与设计
4.1.1 产品原型
在员工管理列表页面点击 “编辑” 按钮,跳转到编辑页面,在编辑页面回显员工信息并进行修改,最后点击 “保存” 按钮完成编辑操作。
员工列表原型:

修改页面原型:
注:点击修改时,数据应该正常回显到修改页面。

4.1.2 接口设计
根据上述原型图分析,编辑员工功能涉及到两个接口:
- 根据id查询员工信息
- 编辑员工信息
1). 根据id查询员工信息


2). 编辑员工信息


注:因为是修改功能,请求方式可设置为PUT。
4.2 代码开发
4.2.1 回显员工信息功能
1). Controller层
在 EmployeeController 中创建 getById 方法:
/**
* 根据id查询员工信息
* @param id
* @return
*/
@GetMapping("/{id}")
@ApiOperation("根据id查询员工信息")
public Result<Employee> getById(@PathVariable Long id){
Employee employee = employeeService.getById(id);
return Result.success(employee);
}
2). Service层接口
在 EmployeeService 接口中声明 getById 方法:
/**
* 根据id查询员工
* @param id
* @return
*/
Employee getById(Long id);
3). Service层实现类
在 EmployeeServiceImpl 中实现 getById 方法:
/**
* 根据id查询员工
*
* @param id
* @return
*/
public Employee getById(Long id) {
Employee employee = employeeMapper.getById(id);
employee.setPassword("****");
return employee;
}
4). Mapper层
在 EmployeeMapper 接口中声明 getById 方法:
/**
* 根据id查询员工信息
* @param id
* @return
*/
@Select("select * from employee where id = #{id}")
Employee getById(Long id);
4.2.2 修改员工信息功能
1). Controller层
在 EmployeeController 中创建 update 方法:
/**
* 编辑员工信息
* @param employeeDTO
* @return
*/
@PutMapping
@ApiOperation("编辑员工信息")
public Result update(@RequestBody EmployeeDTO employeeDTO){
log.info("编辑员工信息:{}", employeeDTO);
employeeService.update(employeeDTO);
return Result.success();
}
2). Service层接口
在 EmployeeService 接口中声明 update 方法:
/**
* 编辑员工信息
* @param employeeDTO
*/
void update(EmployeeDTO employeeDTO);
3). Service层实现类
在 EmployeeServiceImpl 中实现 update 方法:
/**
* 编辑员工信息
*
* @param employeeDTO
*/
public void update(EmployeeDTO employeeDTO) {
Employee employee = new Employee();
BeanUtils.copyProperties(employeeDTO, employee);
employee.setUpdateTime(LocalDateTime.now());
employee.setUpdateUser(BaseContext.getCurrentId());
employeeMapper.update(employee);
}
在实现启用禁用员工账号功能时,已实现employeeMapper.update(employee),在此不需写Mapper层代码。
4.3 功能测试
4.3.1 接口文档测试
分别测试根据id查询员工信息和编辑员工信息两个接口
1). 根据id查询员工信息
查询employee表中的数据,以id=4的记录为例

开始测试

获取到了id=4的相关员工信息
2). 编辑员工信息
修改id=4的员工信息,name由zhangsan改为张三丰,username由张三改为zhangsanfeng。

查看employee表数据

4.3.2 前后端联调测试
进入到员工列表查询
对员工姓名为杰克的员工数据修改,点击修改,数据已回显

修改后,点击保存

4.4 代码提交

后续步骤和上述功能代码提交一致,不再赘述。
5 修改密码
5.1 需求分析与设计

5.2 代码开发
1). Controller层
/**
* 修改员工密码
* @param passwordEditDTO
* @return
*/
@ApiOperation("修改密码")
@PutMapping("/editPassword")
public Result editPassword(@RequestBody PasswordEditDTO passwordEditDTO){
log.info("修改密码:{}", passwordEditDTO);
employeeService.editPassword(passwordEditDTO);
return Result.success();
}
2). service层
/**
* 修改密码
* @param passwordEditDTO
*/
void editPassword(PasswordEditDTO passwordEditDTO);
3). serviceImpl层
/**
* 修改密码
* @param passwordEditDTO
*/
@Override
public void editPassword(PasswordEditDTO passwordEditDTO) {
// 获取当前员工ID
Long empId = BaseContext.getCurrentId();
// 查询员工信息
Employee employee = employeeMapper.getById(empId);
// 验证旧密码是否正确
String oldPassword = DigestUtils.md5DigestAsHex(passwordEditDTO.getOldPassword().getBytes());
if (!oldPassword.equals(employee.getPassword())) {
throw new PasswordErrorException(MessageConstant.PASSWORD_ERROR);
}
// 设置新密码并进行MD5加密
employee.setPassword(DigestUtils.md5DigestAsHex(passwordEditDTO.getNewPassword().getBytes()));
// 更新时间和更新人
employee.setUpdateTime(LocalDateTime.now());
employee.setUpdateUser(empId);
// 更新数据库
int result = employeeMapper.update(employee);
if (result <= 0) {
// 如果更新失败,抛出异常
throw new PasswordErrorException(MessageConstant.PASSWORD_EDIT_FAILED);
}
}
4). Mapper层
复用之前的update方法,将void改为Integer,这样可以判断返回值是1还是0,如果是0,则修改失败,抛出密码修改失败的异常。
6. 分类模块功能代码
6.1 需求分析与设计
6.1.1 产品原型
后台系统中可以管理分类信息,分类包括两种类型,分别是 菜品分类 和 套餐分类 。
先来分析菜品分类相关功能。
新增菜品分类: 当我们在后台系统中添加菜品时需要选择一个菜品分类,在移动端也会按照菜品分类来展示对应的菜品。
菜品分类分页查询: 系统中的分类很多的时候,如果在一个页面中全部展示出来会显得比较乱,不便于查看,所以一般的系统中都会以分页的方式来展示列表数据。
根据id删除菜品分类: 在分类管理列表页面,可以对某个分类进行删除操作。需要注意的是当分类关联了菜品或者套餐时,此分类不允许删除。
修改菜品分类: 在分类管理列表页面点击修改按钮,弹出修改窗口,在修改窗口回显分类信息并进行修改,最后点击确定按钮完成修改操作。
启用禁用菜品分类: 在分类管理列表页面,可以对某个分类进行启用或者禁用操作。
分类类型查询: 当点击分类类型下拉框时,从数据库中查询所有的菜品分类数据进行展示。
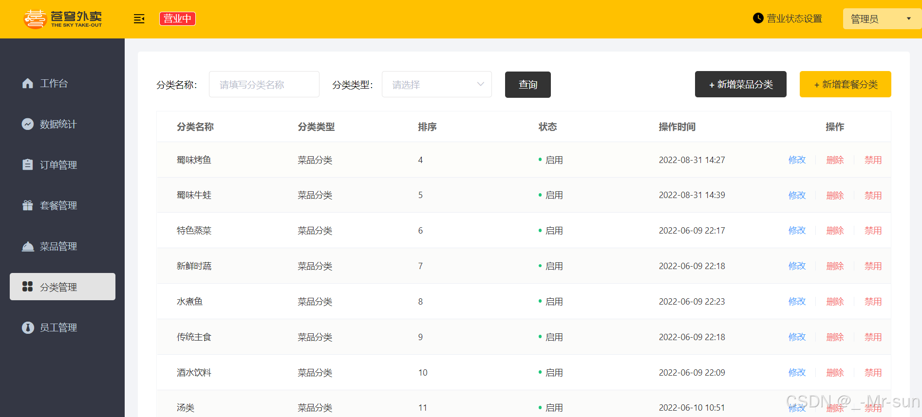
分类管理原型:

业务规则:
- 分类名称必须是唯一的
- 分类按照类型可以分为菜品分类和套餐分类
- 新添加的分类状态默认为“禁用”
6.1.2 接口设计
根据上述原型图分析,菜品分类模块共涉及6个接口。
- 新增分类
- 分类分页查询
- 根据id删除分类
- 修改分类
- 启用禁用分类
- 根据类型查询分类
接下来,详细地分析每个接口。
1). 新增分类


2). 分类分页查询


3). 根据id删除分类

4). 修改分类


5). 启用禁用分类

6). 根据类型查询分类


6.1.3 表设计
category表结构:
| 字段名 | 数据类型 | 说明 | 备注 |
|---|---|---|---|
| id | bigint | 主键 | 自增 |
| name | varchar(32) | 分类名称 | 唯一 |
| type | int | 分类类型 | 1菜品分类 2套餐分类 |
| sort | int | 排序字段 | 用于分类数据的排序 |
| status | int | 状态 | 1启用 0禁用 |
| create_time | datetime | 创建时间 | |
| update_time | datetime | 最后修改时间 | |
| create_user | bigint | 创建人id | |
| update_user | bigint | 最后修改人id |
6.2 完成代码
进入到sky-server模块中
6.2.1 Mapper层
DishMapper.java
package com.sky.mapper;
import org.apache.ibatis.annotations.Mapper;
import org.apache.ibatis.annotations.Select;
@Mapper
public interface DishMapper {
/**
* 根据分类id查询菜品数量
* @param categoryId
* @return
*/
@Select("select count(id) from dish where category_id = #{categoryId}")
Integer countByCategoryId(Long categoryId);
}
SetmealMapper.java
package com.sky.mapper;
import org.apache.ibatis.annotations.Mapper;
import org.apache.ibatis.annotations.Select;
@Mapper
public interface SetmealMapper {
/**
* 根据分类id查询套餐的数量
* @param id
* @return
*/
@Select("select count(id) from setmeal where category_id = #{categoryId}")
Integer countByCategoryId(Long id);
}
CategoryMapper.java
package com.sky.mapper;
import com.github.pagehelper.Page;
import com.sky.dto.CategoryPageQueryDTO;
import com.sky.entity.Category;
import org.apache.ibatis.annotations.Delete;
import org.apache.ibatis.annotations.Insert;
import org.apache.ibatis.annotations.Mapper;
import java.util.List;
@Mapper
public interface CategoryMapper {
/**
* 插入数据
* @param category
*/
@Insert("insert into category(type, name, sort, status, create_time, update_time, create_user, update_user)" +
" VALUES" +
" (#{type}, #{name}, #{sort}, #{status}, #{createTime}, #{updateTime}, #{createUser}, #{updateUser})")
void insert(Category category);
/**
* 分页查询
* @param categoryPageQueryDTO
* @return
*/
Page<Category> pageQuery(CategoryPageQueryDTO categoryPageQueryDTO);
/**
* 根据id删除分类
* @param id
*/
@Delete("delete from category where id = #{id}")
void deleteById(Long id);
/**
* 根据id修改分类
* @param category
*/
void update(Category category);
/**
* 根据类型查询分类
* @param type
* @return
*/
List<Category> list(Integer type);
}
CategoryMapper.xml,进入到resources/mapper目录下
<?xml version="1.0" encoding="UTF-8" ?>
<!DOCTYPE mapper PUBLIC "-//mybatis.org//DTD Mapper 3.0//EN"
"http://mybatis.org/dtd/mybatis-3-mapper.dtd" >
<mapper namespace="com.sky.mapper.CategoryMapper">
<select id="pageQuery" resultType="com.sky.entity.Category">
select * from category
<where>
<if test="name != null and name != ''">
and name like concat('%',#{name},'%')
</if>
<if test="type != null">
and type = #{type}
</if>
</where>
order by sort asc , create_time desc
</select>
<update id="update" parameterType="Category">
update category
<set>
<if test="type != null">
type = #{type},
</if>
<if test="name != null">
name = #{name},
</if>
<if test="sort != null">
sort = #{sort},
</if>
<if test="status != null">
status = #{status},
</if>
<if test="updateTime != null">
update_time = #{updateTime},
</if>
<if test="updateUser != null">
update_user = #{updateUser}
</if>
</set>
where id = #{id}
</update>
<select id="list" resultType="Category">
select * from category
where status = 1
<if test="type != null">
and type = #{type}
</if>
order by sort asc,create_time desc
</select>
</mapper>
6.2.2 Service层
CategoryService.java
package com.sky.service;
import com.sky.dto.CategoryDTO;
import com.sky.dto.CategoryPageQueryDTO;
import com.sky.entity.Category;
import com.sky.result.PageResult;
import java.util.List;
public interface CategoryService {
/**
* 新增分类
* @param categoryDTO
*/
void save(CategoryDTO categoryDTO);
/**
* 分页查询
* @param categoryPageQueryDTO
* @return
*/
PageResult pageQuery(CategoryPageQueryDTO categoryPageQueryDTO);
/**
* 根据id删除分类
* @param id
*/
void deleteById(Long id);
/**
* 修改分类
* @param categoryDTO
*/
void update(CategoryDTO categoryDTO);
/**
* 启用、禁用分类
* @param status
* @param id
*/
void startOrStop(Integer status, Long id);
/**
* 根据类型查询分类
* @param type
* @return
*/
List<Category> list(Integer type);
}
CategoryServiceImpl.java
package com.sky.service.impl;
import com.github.pagehelper.Page;
import com.github.pagehelper.PageHelper;
import com.sky.constant.MessageConstant;
import com.sky.constant.StatusConstant;
import com.sky.context.BaseContext;
import com.sky.dto.CategoryDTO;
import com.sky.dto.CategoryPageQueryDTO;
import com.sky.entity.Category;
import com.sky.exception.DeletionNotAllowedException;
import com.sky.mapper.CategoryMapper;
import com.sky.mapper.DishMapper;
import com.sky.mapper.SetmealMapper;
import com.sky.result.PageResult;
import com.sky.service.CategoryService;
import lombok.extern.slf4j.Slf4j;
import org.springframework.beans.BeanUtils;
import org.springframework.beans.factory.annotation.Autowired;
import org.springframework.stereotype.Service;
import java.time.LocalDateTime;
import java.util.List;
/**
* 分类业务层
*/
@Service
@Slf4j
public class CategoryServiceImpl implements CategoryService {
@Autowired
private CategoryMapper categoryMapper;
@Autowired
private DishMapper dishMapper;
@Autowired
private SetmealMapper setmealMapper;
/**
* 新增分类
* @param categoryDTO
*/
public void save(CategoryDTO categoryDTO) {
Category category = new Category();
//属性拷贝
BeanUtils.copyProperties(categoryDTO, category);
//分类状态默认为禁用状态0
category.setStatus(StatusConstant.DISABLE);
//设置创建时间、修改时间、创建人、修改人
category.setCreateTime(LocalDateTime.now());
category.setUpdateTime(LocalDateTime.now());
category.setCreateUser(BaseContext.getCurrentId());
category.setUpdateUser(BaseContext.getCurrentId());
categoryMapper.insert(category);
}
/**
* 分页查询
* @param categoryPageQueryDTO
* @return
*/
public PageResult pageQuery(CategoryPageQueryDTO categoryPageQueryDTO) {
PageHelper.startPage(categoryPageQueryDTO.getPage(),categoryPageQueryDTO.getPageSize());
//下一条sql进行分页,自动加入limit关键字分页
Page<Category> page = categoryMapper.pageQuery(categoryPageQueryDTO);
return new PageResult(page.getTotal(), page.getResult());
}
/**
* 根据id删除分类
* @param id
*/
public void deleteById(Long id) {
//查询当前分类是否关联了菜品,如果关联了就抛出业务异常
Integer count = dishMapper.countByCategoryId(id);
if(count > 0){
//当前分类下有菜品,不能删除
throw new DeletionNotAllowedException(MessageConstant.CATEGORY_BE_RELATED_BY_DISH);
}
//查询当前分类是否关联了套餐,如果关联了就抛出业务异常
count = setmealMapper.countByCategoryId(id);
if(count > 0){
//当前分类下有菜品,不能删除
throw new DeletionNotAllowedException(MessageConstant.CATEGORY_BE_RELATED_BY_SETMEAL);
}
//删除分类数据
categoryMapper.deleteById(id);
}
/**
* 修改分类
* @param categoryDTO
*/
public void update(CategoryDTO categoryDTO) {
Category category = new Category();
BeanUtils.copyProperties(categoryDTO,category);
//设置修改时间、修改人
category.setUpdateTime(LocalDateTime.now());
category.setUpdateUser(BaseContext.getCurrentId());
categoryMapper.update(category);
}
/**
* 启用、禁用分类
* @param status
* @param id
*/
public void startOrStop(Integer status, Long id) {
Category category = Category.builder()
.id(id)
.status(status)
.updateTime(LocalDateTime.now())
.updateUser(BaseContext.getCurrentId())
.build();
categoryMapper.update(category);
}
/**
* 根据类型查询分类
* @param type
* @return
*/
public List<Category> list(Integer type) {
return categoryMapper.list(type);
}
}
6.2.3 Controller层
CategoryController.java
package com.sky.controller.admin;
import com.sky.dto.CategoryDTO;
import com.sky.dto.CategoryPageQueryDTO;
import com.sky.entity.Category;
import com.sky.result.PageResult;
import com.sky.result.Result;
import com.sky.service.CategoryService;
import io.swagger.annotations.Api;
import io.swagger.annotations.ApiOperation;
import lombok.extern.slf4j.Slf4j;
import org.springframework.beans.factory.annotation.Autowired;
import org.springframework.web.bind.annotation.*;
import java.util.List;
/**
* 分类管理
*/
@RestController
@RequestMapping("/admin/category")
@Api(tags = "分类相关接口")
@Slf4j
public class CategoryController {
@Autowired
private CategoryService categoryService;
/**
* 新增分类
* @param categoryDTO
* @return
*/
@PostMapping
@ApiOperation("新增分类")
public Result<String> save(@RequestBody CategoryDTO categoryDTO){
log.info("新增分类:{}", categoryDTO);
categoryService.save(categoryDTO);
return Result.success();
}
/**
* 分类分页查询
* @param categoryPageQueryDTO
* @return
*/
@GetMapping("/page")
@ApiOperation("分类分页查询")
public Result<PageResult> page(CategoryPageQueryDTO categoryPageQueryDTO){
log.info("分页查询:{}", categoryPageQueryDTO);
PageResult pageResult = categoryService.pageQuery(categoryPageQueryDTO);
return Result.success(pageResult);
}
/**
* 删除分类
* @param id
* @return
*/
@DeleteMapping
@ApiOperation("删除分类")
public Result<String> deleteById(Long id){
log.info("删除分类:{}", id);
categoryService.deleteById(id);
return Result.success();
}
/**
* 修改分类
* @param categoryDTO
* @return
*/
@PutMapping
@ApiOperation("修改分类")
public Result<String> update(@RequestBody CategoryDTO categoryDTO){
categoryService.update(categoryDTO);
return Result.success();
}
/**
* 启用、禁用分类
* @param status
* @param id
* @return
*/
@PostMapping("/status/{status}")
@ApiOperation("启用禁用分类")
public Result<String> startOrStop(@PathVariable("status") Integer status, Long id){
categoryService.startOrStop(status,id);
return Result.success();
}
/**
* 根据类型查询分类
* @param type
* @return
*/
@GetMapping("/list")
@ApiOperation("根据类型查询分类")
public Result<List<Category>> list(Integer type){
List<Category> list = categoryService.list(type);
return Result.success(list);
}
}
全部导入完毕后,进行编译
6.3 功能测试
重启服务,访问http://localhost:80,进入分类管理
分页查询:
分类类型:
启用禁用:
点击禁用
修改:
回显

修改后
新增:
点击确定,查询列表
删除:
删除后,查询分类列表
删除成功
6.4 代码提交

后续步骤和上述功能代码提交一致,不再赘述。
火山引擎开发者社区是火山引擎打造的AI技术生态平台,聚焦Agent与大模型开发,提供豆包系列模型(图像/视频/视觉)、智能分析与会话工具,并配套评测集、动手实验室及行业案例库。社区通过技术沙龙、挑战赛等活动促进开发者成长,新用户可领50万Tokens权益,助力构建智能应用。
更多推荐
所有评论(0)